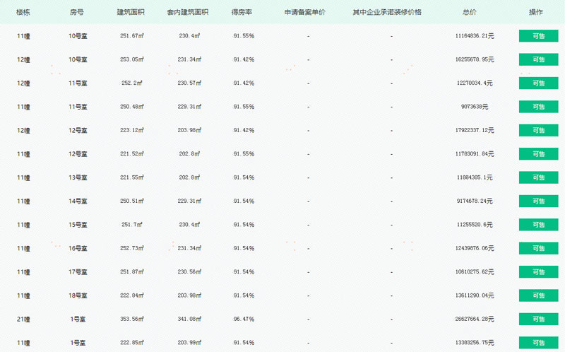
[方案公示]滨江鸣湖里 排屋均价73075元/㎡
[摘要] 10月7日,滨江鸣湖里销售方案公示,本次销售项目为鸣湖里11幢12幢21幢,房屋套数34套。
10月7日,滨江鸣湖里销售方案公示,本次销售项目为鸣湖里11幢12幢21幢,房屋套数34套。
建筑面积:8574.2㎡。
主力户型:叠排约253、223、250㎡;排屋约306、354㎡。
房源均价(叠排含装修,排屋毛坯):叠排48041元/㎡,排屋73075元/㎡。
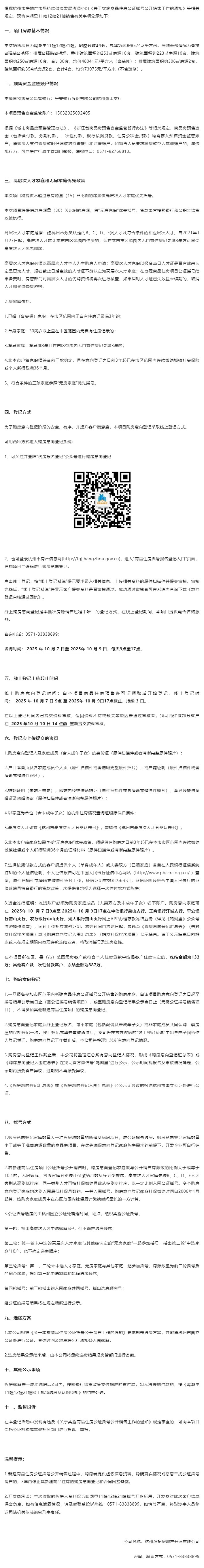
高层次人才房家庭倾斜比例:15%。
普通无房家庭倾斜比例:30%。
资金证明:冻结金额为133万;其他客户及一次性付款客户,冻结金额为887万。
登记时间: 2025年10月7日9点至2025年10月9日17点截止,持续3日。
补登记截止时间:2025年10月10日14点前。
项目地址:东至金西路,南至亚太路绿化,西至绿地,北至绿地。

点击查看更多一房一价


- 扫一扫下载
手机客户端

- 微信关注
我们